【导读】圣邦微电子正式推出SGM6000系列同步降压转换器,该器件凭借1.75V至5.5V的宽输入电压范围、低至300nA的超静态电流以及高达700mA的输出电流,为电池供电的便携式与物联网设备提供了兼具高效能与长续航的电源解决方案。其微型化的设计特别适用于对功耗和体积极为敏感的应用场景。
圣邦微电子正式推出SGM6000系列同步降压转换器,该器件凭借1.75V至5.5V的宽输入电压范围、低至300nA的超静态电流以及高达700mA的输出电流,为电池供电的便携式与物联网设备提供了兼具高效能与长续航的电源解决方案。其微型化的设计特别适用于对功耗和体积极为敏感的应用场景。
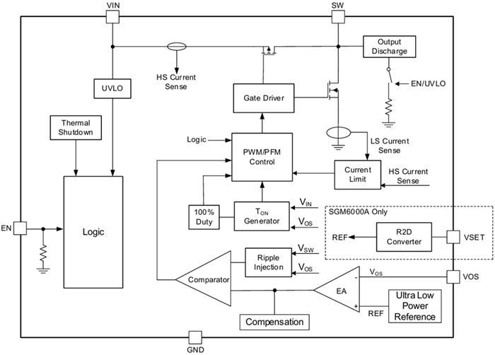
一、核心定位:为极致续航与微型化而生
SGM6000系列专为延长电池寿命与缩小方案尺寸而优化。其关断电流低至6nA,配合高达96%的峰值转换效率,能最大程度榨取电池能量。方案仅需两颗电容、一颗电感,总占板面积约27.4mm²,采用先进的WLCSP微型封装,是TWS耳机、智能穿戴、医疗传感器等空间受限设备的理想选择。
二、关键性能与特性
1. 卓越的能效表现
●超低静态功耗:静态电流仅300nA,关断电流6nA,极大延长设备待机时间。
●全负载高效:峰值效率达96%,即使在10μA极轻负载下效率仍高于88%,确保电池能量被充分利用。
2. 灵活的电压输出配置
●可调版本 (SGM6000A):通过VSET引脚,可在0.7V至3.3V范围内自由设定输出电压。
●固定版本 (SGM6000B):提供0.6V、0.8V、1.2V、1.8V四档常用固定电压,方便快速选用。
3. 高集成度与可靠性
●精简外围:仅需1个电感和2个电容即可构建完整电源方案,显著节省布板空间与BOM成本。
●完备保护:内置多种保护机制,并集成主动放电功能,可快速释放输出电容储能,提升系统安全性。
三、目标应用场景
SGM6000系列凭借其超低功耗、高效率和微型化特性,精准服务于以下领域:
●便携消费电子:TWS耳机、智能手环/手表、蓝牙耳机。
●物联网设备:NB-IoT/蓝牙模块、智能传感器、无线传感节点。
●微型电池供电产品:采用单节锂离子或纽扣电池的各类设备。
●工业应用:低功耗有线或无线工业模块、便携式仪表。
推荐阅读:
ARM阵营的“性能火箭”:康佳特COM-HPC Mini模块开启边缘AI超频模式
量产在即!中微半导体CMS32F003系列,为2026年高性价比应用注入核心动力
设计师福音!Melexis这款RC缓冲器让高压功率系统更简单、更可靠
灵敏度提升数倍:Littelfuse用TMR技术重新定义磁开关
画幅更宽、噪声更低、帧率更高:思特威新一代ITS传感器重新定义道路监控






